Loading

GT Korea
대진계측기
대진계측기

유량계

 
유량계 터빈 유량계 KTR-100

KTR-100

제품:KTR-100 터빈 유량계


 

KTR-100 터빈 유량계

 


제품소개

  KTR-100 Series  는 인디게이터 내부에 위치하는 3.6 V 내장 Battery 로 전원이 공급 되어 전원 공급이 까다로운 현장에 적용하여 사용 할 수 있습니다. 기본적으로 이 제품은 End Connection 이 Screw Type 으로 마무리 되어 있습니다. 구동부가 기계식이기 때문에 저온부터 고온까지 유체에 모두 적용이 가능하며 가격이 경제적이고 재현성이 우수합니다

 KTR-100 Series 는 오일, 화학 약품 등의 유체에 적용가능하며 석유 가스, 발전소, 제약 및 펄프 & 제지 등의 산업 현장에 또한 이용 할 수 있습니다. 그러나 슬러지가 있거나 점도가 높은 유체에는 사용하지 않는 것을 권장 드립니다. 또한 주문 제작으로 End Connection 을 추가하여 다양한 배관 조건에 충족 가능합니다.

■ FEATURE
• 가볍고 좁은 공간에 설치가 용이한 디자인
• 기본 Screw Type 에 다양한 End Connection 적용 가능
• 상대적으로 저렴한 가격
• 베터리 타입 전용
• 오랜 시간 탁월한 안정성과 정확성 제공
• 소음 및 진동이 심한 현장에서도 안정적인 정확도 유지
• 수평 및 수직으로 자유롭게 설치 가능

■ APPLICATIONS
▶ 일반적인 적용 분야
• 유틸리티 용도: 에너지 분배로 사용되는 보조 및 공급 라인
▶ 화학 및 기타 공정 산업
• 응축수 과 냉각수
• 반응기에 batching과 혼합
▶ 기계 및 장비(OEM산업)
• 냉각재, 냉각수, 윤활유, 공기 공급
▶ 종이 및 펄프 산업 분야
▶ 철 및 금속 가공 분야

■ KTR-100 Series General Specifications


■ MODEL CODE


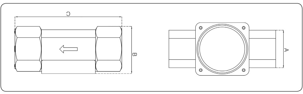
■ STRUCTURAL DRAWING


■ FLOW RANGE & DIMENSIONS


■ CAUTION
본 유량계는 설치 전 관내의 이물질 존재 여부 확인 해야 합니다. 이물질이 존재 할 경우 Turbine의 원활한 회전을 위하여 반드시 Strainer를 설치 해야 합니다. 그리고 전∙후단 직관 부는 전단 10D와 후단 5D를 유지시켜 유체가 안정된 흐름을 할 수 있도록 합니다. 또한 심한 진동이나 충격은 계기의 수명이나 성능을 저하 시킬 수 있으므로 가급적 피하십시오.

■ INSTALLATION PRECAUTIONS